

最近经济下行期,不少公司内部的股东矛盾也开始悄然浮现。
“当初一起创业称兄道弟,如今因为利益吵得面红耳赤”“大股东独断专行,小股东话语权被架空,想走却无路可退”……这样的场景,在企业经营中早已不是什么新鲜事。很多股东遇到分歧时,要么硬着头皮继续耗着,表面和气暗地较劲;要么一时冲动行事,把矛盾彻底激化,结果往往让自身利益进一步受损,甚至拖累整个公司发展。殊不知,股东“散伙”根本无需死扛到底,法律早已为各方准备好了清晰、合法的退出路径。业内就有一个典型的“和平退出”范例,处理得体面、专业,又不伤和气,值得不少企业借鉴。
具体来看,这份公告写得干净利落:
股东退股暨品牌独立经营公告
致全体客户、供应商、合作伙伴及各界朋友:
兹有浙江兴顺新材料科技有限公司原股东杨训柏、张楷福,因个人事业发展规划调整,已与公司完成全部股权交割及工商变更登记,自2026年3月18日起正式退出股东身份,不再持有本公司任何股份,亦不参与本公司任何经营管理。
上述两位股东退股离职后,其所经营企业及开展的一切商业活动均与本公司无任何股权关联、无业务合作、无品牌授权关系,双方各自独立经营、自负盈亏。任何以本公司名义与上述二人私下达成的合作、承诺、欠款,本公司均不予认可,不承担任何法律责任。
截止本公告发布之日,本公司历史仅经营“兴顺”一个品牌,未授权、未新增其他任何品牌。
本公司及旗下唯一隶属分公司《四川浩顺新材料科技有限公司》由创始人杨训松控股持续运营,现有生产基地(浙江兰溪、四川德阳)研发中心,技术体系、产品标准、销售渠道、售后服务均保持稳定不变,所有合同约定、品质保障、售后支持不受任何影响。
感谢各界长期以来的信任与支持,我司将坚守品质、专注创新,持续为客户提供更优质的粉末涂料产品与服务。

这份公告语气坚定却不失礼貌,既明确切割了关系,又安抚了外部合作伙伴,堪称处理股东退出的教科书级样本。
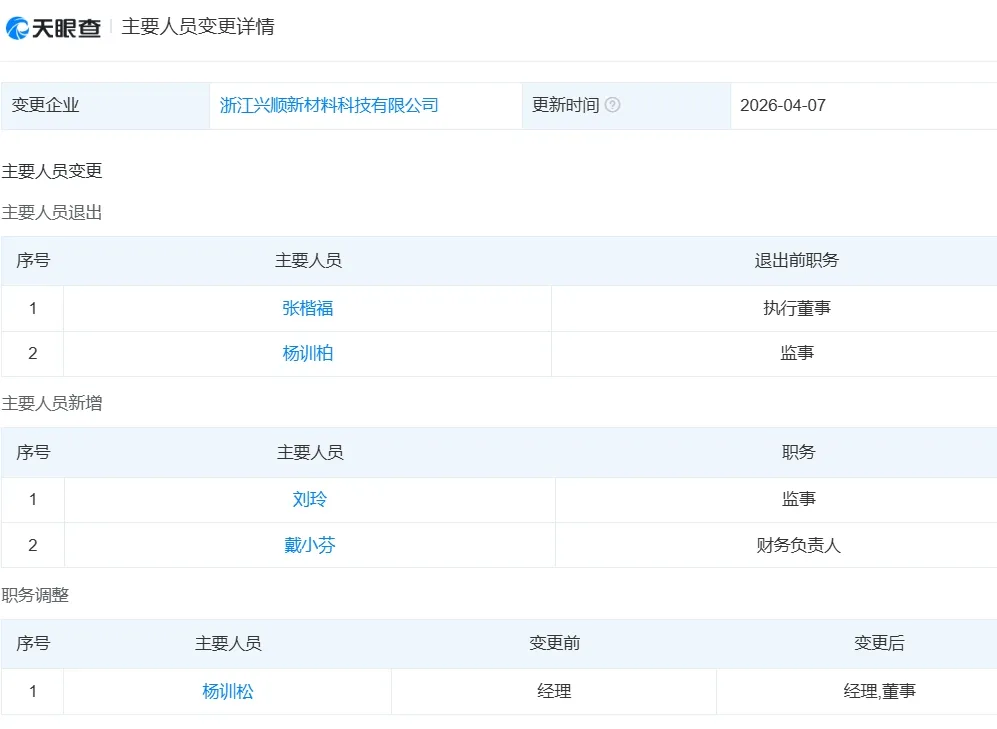
天眼查数据显示,张楷福退出前担任执行董事,杨训柏退出前则为执行董事兼监事。

有意思的是,杨训松的职位由经理变更为经理、董事,同时他还是公司法定代表人和实际控制人,持股比例高达70%。此外,杨训松名下还持有“四川浩顺新材料科技有限公司”,这点在公告中也有明确体现。
而“出走”的杨训柏名下,则在今年3月27日新成立了一家“中虎恒彩新材料科技(上海)有限公司”,目前业务范围尚未完全公开,不知是否会继续涉足粉末涂料领域。

细心的朋友可能早已看出端倪——杨训松和杨训柏,这两个名字摆在一起,怎么看像是一家人呢?如此一来,哪怕公告写得再义正辞严、语气强烈,外人听着可能也觉得“其实没啥大不了的”。
而且,股东退出从来不是“鱼死网破”的零和游戏。遵循“以和为贵”的东方智慧,往往就能谈成一场“好聚好散”的体面分手。双方把账算清楚、把关系理顺,既保护了各自长远利益,也避免了公司内部长期内耗,让企业能轻装上阵继续向前。
公开资料显示,浙江兴顺新材料科技有限公司(简称“兴顺科技”)成立于2007年,总部位于浙江省金华市兰溪市,是一家专注于热固性粉末涂料研发、生产与销售的高新技术企业。从最初的小作坊起步,到如今成为行业内颇具影响力的企业,它的成长轨迹本身就值得细细品味。
公司前身是永康市兴顺塑粉有限公司,2014年自建超过16000平方米的生产基地,2015年正式更名为浙江兴顺新材料科技有限公司。随后不断扩张版图:2018年在江西宜春设立“江西巧匠新材料科技有限公司”,2019年在四川成都设立“四川浩顺新材料科技有限公司”,2023年河南分厂也正式投产。可以说,每一步都踩在了行业发展的节奏上。


目前,公司产品远销中东、非洲、俄罗斯、乌兹别克斯坦等近十个国家和地区。主打产品覆盖门业、休闲器材、家电、汽车轮毂、户外休闲器材等三十多个领域,已累计推出上万款多体系产品,满足不同客户个性化需求。
此次股东和平退出后,公司核心团队、研发中心、生产基地、销售网络和售后体系均保持完整,由杨训松继续控股运营。无论是对客户还是供应商来说,合作体验都不会有任何改变。这恰恰证明:股东“散伙”处理得当,不仅不会伤筋动骨,反而能让双方都找到更适合自己的赛道,实现真正的双赢。
总结
在当下这个充满不确定性的市场环境中,类似的故事或许还会不断上演。但只要各方都能理性面对、依法依规操作,企业就能在一次次调整中实现自我迭代,让“散伙”也成为一次新的开始。




发表评论 取消回复